CFMOTO -Patentbilder zeigen aktive Aerodynamik auf einem Motorrad

CFMOTO könnte in Kürze in unbekanntes Gebiet eintreten, da Patente auf den Bikes untersucht wurden, die auf dem Befehl eingesetzt werden können.

Die Winglets on Motorruhe traten erstmals in der modernen Ära im Jahr 2010 auf, wobei Ducatis Desmosierung GP10 sie wieder in das Gespräch brachte. Andere Marken waren mit der Idee wie Suzuki mit seinem 1980 RG500 und MV Agusta mit seinem 1972 500/4 GP -Fahrrad mit der Idee geflirtet. Der Ducati war jedoch der erste eines Tsunami von Winglets, die schnell aus der Karosserie des Restes des Netzes sprießen.

Wie bei der Road- und Race Bike -Beziehung sahen wir ziemlich bald, wie Winglets auf Roadbikes erschienen, von Dingen wie dem Panigale V4S bis hin zu Fahrrädern wie dem, das Sie hier sehen können, CFMOTOs 675SR.

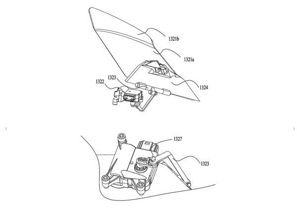
Das Design der genannten Winglets scheint ziemlich einfach zu sein, wobei ein Aktuator auf der Innenseite der Verkleidung sitzt und eine Verknüpfung an das Winglet repariert. Was nicht so klar ist, ist genau, wie sie bereitgestellt werden. Einige Berichte deuten darauf hin, dass dies automatisch und mit einer bestimmten Geschwindigkeit erfolgt, obwohl sie auch mit einem Track -Reitmodus verknüpft werden könnten, in dem sie in der vollständig eingesetzten Position bleiben.

Das System, das die Winglets bereitstellt

Während das CFMOTO das erste Fahrrad mit Winglets wäre, das während des Fahrrads eingesetzt werden kann, ist es nicht das erste Motorrad mit aktiven Aerodynamik. Moto Guzzi hat bereits ein System auf seinem V100 Mandello, obwohl der Aero auf dem italienischen Fahrrad einen etwas anderen Zweck hat.

Moto Guzzi V100 Mandello Aero Wing

Möglicherweise lesen Sie auch unseren Moto Guzzi V100 Mandello Review.

Was diese CFMOTO-Winglets enden werden, bleibt abzuwarten, und während die Marke über die 500-SR- und 675SR-Sporträder in ihrer Reichweite verfügt, könnte diese Technologie besser für das lang erwartete V4-Sportbike des CFMOTO geeignet sein, das noch gestartet werden muss.